Взрывной триггер Шмитта: Всё, что нужно знать за 5 минут
В процессе проектирования импульсных узлов перед инженером часто встает задача создания порогового элемента, способного из входного сигнала произвольной формы (например, пилообразного или синусоидального) выдавать на выходе строго прямоугольный сигнал с заданными уровнями «высокого» и «низкого» напряжения.
Идеальным решением для этой роли служит триггер Шмитта — схема с двумя устойчивыми состояниями выхода, между которыми входной сигнал вызывает быстрые переключения, формируя в результате необходимую прямоугольную форму выходного сигнала.

Ключевой особенностью триггера Шмитта является существование интервала входных напряжений, при выходе за границы которого происходит резкое переключение выхода с низкого уровня на высокий и обратно.
Это поведение называется гистерезисом; промежуток входных значений между порогами образует область гистерезиса. Разность верхнего и нижнего порогов определяет ширину этой области и тем самым характеризует чувствительность триггера: расширенная область гистерезиса уменьшает чувствительность, суженная — повышает.
Триггеры Шмитта выпускаются как отдельные специализированные микросхемы, внутри корпуса которых может находиться несколько независимых триггеров. Такие микросхемы имеют нормированные пороговые уровни и обеспечивают крутые фронты на выходе даже при сильно искаженной форме входного сигнала. Альтернативно, триггер Шмитта можно сконструировать на логических элементах, что дает разработчику точный контроль над шириной области гистерезиса.
Рассмотрим далее принцип функционирования триггера Шмитта, опираясь на приведенный рисунок.

На схеме показан условный элемент триггера и его передаточная и временная характеристики. Если входное напряжение Uвх находится ниже нижнего порога срабатывания Uпор.н, на выходе сохраняется низкий уровень напряжения U0, близкий к нулю.
По мере возрастания Uвх сначала достигается нижняя граница области гистерезиса Uпор.н — при этом выход остается в низком состоянии. Даже при нахождении входного напряжения внутри области гистерезиса выход не изменяется и сохраняет уровень U0.
«Но при пересечении верхнего порога Uпор.в выход мгновенно переходит в высокое состояние U1.» Как только Uвх превосходит этот верхний порог, триггер устанавливается в одно из устойчивых состояний (высокий уровень) и дальнейшее возрастание входа не изменяет выход до тех пор, пока не произойдет обратное переключение.
При уменьшении Uвх выход остается высоким вплоть до момента, когда входовое напряжение достигает нижней границы области гистерезиса Uпон.н — только тогда выход скачком возвращается в низкое состояние U0. Именно этот цикл переключений описывает рабочий принцип триггера Шмитта.

Иногда применяют инвертирующие варианты триггера Шмитта, где внутри реализован логический элемент «И» с выходным инвертором «НЕ». В таком случае передаточная характеристика меняет полярность: при выходе напряжения за верхнюю границу области гистерезиса на выходе возникает низкий уровень, а при возврате ниже области — высокий уровень. Фактически это элемент И-НЕ, дополненный гистерезисом.

Триггер Шмитта также может быть реализован на операционном усилителе. Описанный далее вариант дает стройное и наглядное объяснение работы такого решения. Инвертирующий вход усилителя заземлен, входной сигнал подается через резистор R1 на неинвертирующий вход, а выход усилителя через резистор R2 возвращается в точку неинвертирующего входа, формируя положительную обратную связь. С выходного плеча снимается прямоугольное напряжение.
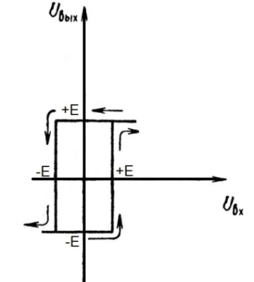
Выход операционного усилителя определяется классической зависимостью Uвых = K * Ua, где K — коэффициент усиления (порядка 10^6), а пределы изменения Uвых ограничены напряжением питания ±E. Для наглядности предполагаем равенство сопротивлений R1 = R2.
В начальном состоянии при Uвх = 0 имеем Ua = 0, следовательно Uвых = 0, поскольку неинвертирующий вход не превышает по уровню инвертирующий (заземленный) вход.
Небольшое повышение Uвх приводит к увеличению Ua, что через большой коэффициент усиления вызывает значительное Uвых. Поскольку точка Ua образована делителем между равными резисторами, она стремится к приблизительно Uвых/2. Возникает лавина положительной обратной связи — Uвых устанавливается на уровне +E, и система входит в устойчивое состояние с высоким выходным уровнем. При этом Ua = (E + Uвх)/2.
При снижении Uвх даже до нуля точка Ua сохранит значение около E/2, и выход останется в высоком состоянии Uвых = E вследствие сохраненной положительной обратной связи.

Только при снижении Uвх до значения −E точка Ua достигает нуля, и выход ОУ переключается в низкое состояние −E. Снова формируется лавина обратной связи, теперь удерживающая Uвых = −E, при этом Ua = (Uвх − E)/2, что значительно ниже по уровню. Для обратного перехода выхода в положительное состояние необходимо вновь подать на вход Uвх = +E. Возврата к нулевой точке уже не произойдет самостоятельно — система остается в одном из двух устойчивых состояний до внешнего воздействия.
Ремонт — решения для вашего дома и офиса. Современные технологии, качественные материалы и проверенные специалисты помогают воплотить любые идеи. Узнайте о новых подходах, полезных советах и эффективных решениях, чтобы ремонт был удобным, надёжным и соответствовал вашим ожиданиям.